在生產實踐中,有的切屑打成螺卷狀,到一定長度時自行折斷;有的切屑折斷成C形、6字形;有的呈發條狀卷屑;有的碎成針狀或小片,四處飛濺,影響安全;有的帶狀切屑纏繞在刀具和工件上,易造成事故。不良的排屑狀態會影響生產的正常進行。

▌ 影響切屑的因素
1. 工件材料
工件材料的合金元素、硬度、熱處理狀態等影響切屑厚度及切屑卷曲。軟鋼比硬鋼形成切屑厚度大;硬鋼比軟鋼不易卷曲;不易卷曲切屑的厚度薄;但當軟鋼切屑厚度太大時也不易卷曲。同時工件外形也是一個重要影響因素。
2. 刀具切削區幾何參數
合理的刀具切削區幾何參數是提高切屑形成的可控性及斷屑的可靠性最常用的方法。
前角與切屑厚度成反比,對于不同被加工材料有最佳值;主偏角直接影響切屑厚度與寬度,主偏角大易斷屑;刀尖圓弧半徑關系到切屑厚度與寬度以及流屑方向,精加工適宜用小的圓弧半徑,粗加工適宜用大的半徑。
斷屑槽寬度與進給量成比例選擇,進給量小選窄的,進給量大的選寬的;斷屑槽深度選擇與進給量成反比,小進給量選深的,大進給量選淺的。
3. 切削用量
切削用量三要素將限定斷屑范圍。對斷屑影響較大的是進給量、背吃刀量,而切削速度在常規切削速度內對斷屑影響最小。進給量與切屑厚度成正比;背吃刀量與切屑寬度成正比;切屑速度與切屑厚度成反比,提高切削速度,有效斷屑范圍變窄。
4. 機床
現代數控機床利用NC編輯功能,周期性改變進給量,以達到強迫斷屑目的,通常稱為“程控斷屑”。這種方法斷屑可靠性高,但切削經濟性較低。常用于其他方法難以斷屑的工序中,例如,車端面環行深槽等。
5. 冷卻潤滑狀態
加切削液,有效斷屑范圍變寬,特別表現于小進給斷屑易卷曲。利用切削液的高壓來斷屑、排屑是某些加工方法中的有效辦法,例如在深孔加工中,高壓切削液可將切屑排出切削區。
▌ 切屑形狀的形成過程
帶狀切屑的形成過程可分為三個階段:
1. 基本變形階段:切削層金屬與刀具切削刃開始接觸到變成切屑而脫離工件材料的過程中切屑產生的變形;
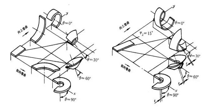
2. 卷曲變形階段:向上卷曲、側向卷曲、A向和B向兼有的錐形卷曲;
3. 附加變形和折斷階段。

▌ 切屑的分類

由于工件材料不同,切削條件各異.切削過程中生成的切屑形狀是多種多樣的。切屑的形狀主要分為帶狀、節狀、粒狀和崩碎四種類型,如下圖所示。
1.jpg
2.jpg
1. 帶狀切屑
這是最常見的一種切屑。它的內表面是光滑的,外表面呈毛茸狀。加工塑性金屬時,在切削厚度較小、切削速度較高、刀具前角較大的工況條件下常形成此類切屑。它的切削過程平衡,切削力波動較小,已加工表面粗糙度較小。
2. 節狀切屑
又稱擠裂切屑。它的外表面呈鋸齒形,內表面有時有裂紋。在切削速度較低、切削厚度較大、刀具前角較小時常產生此類切屑。
3. 粒狀切屑
又稱單元切屑。在切屑形成過程中,如剪切面上的剪切應力超過了材料的斷裂強度,裂紋擴展到整個面上,切屑單元從被切材料上脫落,形成粒狀切屑。如圖c所示。
以上三種切屑只有在加工塑性材料時才可能得到。其中,帶狀切屑的切削過程最平穩,單元切屑的切削力波動最大。在生產中最常見的是帶狀切屑,有時得到擠裂切屑,單元切屑則很少見。假如改變擠裂切屑的條件,如進一步減小刀具前角,減低切削速度,或加大切削厚度,就可以得到單元切屑。反之,則可以得到帶狀切屑。這說明切屑的形態是可以隨切削條件而轉化的。掌握了它的變化規律,就可以控制切屑的變形、形態和尺寸,以達到卷屑和斷屑的目的。
4. 崩碎切屑
這是屬于脆性材料的切屑。這種切屑的形狀是不規則的,加工表面是凸凹不平的。從切削過程來看,切屑在破裂前變形很小,和塑性材料的切屑形成機理也不同。它的脆斷主要是由于材料所受應力超過了它的抗拉極限。加工脆硬材料,如高硅鑄鐵、白口鐵等,特別是當切削厚度較大時常得到這種切屑。由于它的切削過程很不平穩,容易破壞刀具,也有損于機床,已加工表面又粗糙,因此在生產中應力求避免。其方法是減小切削厚度,使切屑成針狀或片狀;同時適當提高切削速度,以增加工件材料的塑性。
以上是四種典型的切屑,但加工現場獲得的切屑,其形狀是多種多樣的。在現代切削加工中,切削速度與金屬切除率達到了很高的水平,切削條件很惡劣,常常產生大量“不可接受”的切屑。
切屑控制,又稱切屑處理,工廠中一般簡稱為“斷屑”,是指在切削加工中采取適當的措施來控制切屑的卷曲、流出與折斷,使形成“可接受”的良好屑形。實際加工中應用最廣的切屑控制方法是在前刀面上磨制出斷屑槽或使用壓塊式斷屑器。